ORFS Recht

ORFS Male - JIC Male

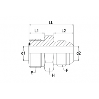
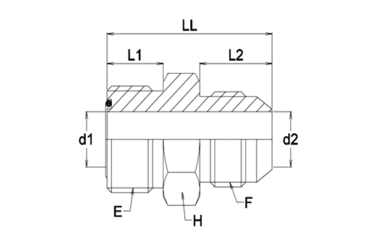
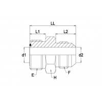
Uitvoering: rechte verbindingsnippel.

Materiaal/coating: standaard Cr(VI) vrij gepassiveerd staal, RVS op aanvraag.

Aansluiting E: UNF buitendraad, afdichting: O-ring ORFS (O’Ring Face Seal) according SAE J516.

 

Aansluiting F: UNF buitendraad, afdichting: JIC 74° conus.

 

  • ORFS Male - JIC Male N04ORM07JM
    Voorraad
    Prijs € 6.44
  • ORFS Male - JIC Male N06ORM09JM
    Voorraad
    Prijs € 8.19
  • ORFS Male - JIC Male N08ORM12JM
    Voorraad
    Prijs € 5.88
  • ORFS Male - JIC Male N12ORM17JM
    Voorraad
    Prijs € 14.76
Code die je kunt gebruiken om snel een product te bestellen
Snelbestel
Nummer van het product
Onderdeelnr
E F L1 L2 Ll D1 D2 H
Hoeveelheid van dit product nog in voorraad
Voorraad
De hoeveelheid die u van dit product wilt bestellen
Aantal
 
8154 N04ORM07JM 9/16"-18 UNF 7/16"-20 UNF 9,8 14 31,8 4,4 4,4 17
8268 N06ORM09JM 11/16"-16 UNF 9/16"-18 UNF 11,2 14,1 34 6,5 6,5 19
8570 N08ORM12JM 13/16"-16 UNF 3/4"-16 UNF 12,8 16,7 39,3 9,5 9,5 22
8987 N12ORM17JM 1.3/16"-12 UNF 1.11/16"-12UNF 17 21,9 52 15,5 15,5 32